Alle vermelde prijzen zijn exclusief BTW

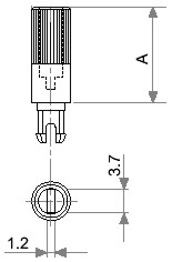
Accessoires voor PT(C)15N-intelpotmeters

Asjes
Duimwieltjes